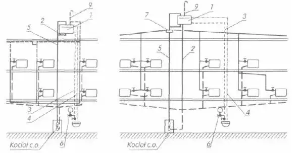
Centralne ogrzewanie w bloku to kluczowy system, który zapewnia komfort cieplny mieszkańcom. Działa na zasadzie rozprowadzania ciepła wytworzonego w jednym miejscu – kotłowni – do wszystkich lokali w budynku. Ciepła woda, podgrzewana w kotle, przepływa przez sieć rur, a następnie trafia do grzejników w każdym mieszkaniu. Dzięki temu, mieszkańcy mogą cieszyć się stabilną temperaturą w swoich domach, niezależnie od warunków atmosferycznych na zewnątrz.
W procesie tym kluczową rolę odgrywa kotłownia, w której najczęściej spalany jest gaz, a woda osiąga temperaturę od 70 do 90 stopni Celsjusza. Po oddaniu ciepła w grzejnikach, schłodzona woda wraca do kotła, co tworzy ciągły cykl ogrzewania. Warto również zauważyć, że w niektórych blokach ogrzewanie może być podłączone do miejskiej sieci, co umożliwia dostarczanie ciepła bezpośrednio z elektrociepłowni.
Kluczowe wnioski:
- Centralne ogrzewanie w bloku zapewnia komfort cieplny poprzez rozprowadzanie ciepła z kotłowni do mieszkań.
- Kotłownia podgrzewa wodę, która osiąga temperaturę 70-90 stopni Celsjusza.
- System działa na zasadzie cyklu, w którym schłodzona woda wraca do kotła po oddaniu ciepła.
- W niektórych budynkach ogrzewanie może być podłączone do miejskiej sieci ciepłowniczej.
Jak działa centralne ogrzewanie w bloku i jego podstawowe zasady
Centralne ogrzewanie w bloku to system, który zapewnia komfort cieplny mieszkańcom poprzez efektywne rozprowadzanie ciepła. Działa na zasadzie wytwarzania ciepła w jednym miejscu, najczęściej w kotłowni, a następnie przesyłania go do wszystkich lokali w budynku. Dzięki rozbudowanej sieci rur, ciepła woda dociera do grzejników w każdym mieszkaniu, co pozwala na utrzymanie stabilnej temperatury w pomieszczeniach.
Ważnym aspektem tego systemu jest jego centralizacja, która umożliwia efektywne zarządzanie ogrzewaniem w całym budynku. Ciepło generowane w kotłowni, zazwyczaj z wykorzystaniem gazu, jest podgrzewane do temperatury od 70 do 90 stopni Celsjusza. Taki system nie tylko zwiększa komfort mieszkańców, ale również przyczynia się do oszczędności energii i kosztów ogrzewania.
Zasada działania centralnego ogrzewania w budynkach wielorodzinnych
W centralnym ogrzewaniu w budynkach wielorodzinnych kluczowe jest zrozumienie cyklu grzewczego. Proces rozpoczyna się w kotłowni, gdzie ciepła woda jest pompowana przez system rur do grzejników w poszczególnych mieszkaniach. Po oddaniu ciepła do pomieszczeń, schłodzona woda wraca do kotła, gdzie jest ponownie podgrzewana. Taki cykl zapewnia efektywne i ciągłe ogrzewanie, co jest niezbędne w chłodniejszych miesiącach.
Kluczowe komponenty systemu grzewczego w bloku
Centralne ogrzewanie w bloku składa się z kilku głównych komponentów, które współpracują, aby zapewnić efektywne ogrzewanie. Na początku znajduje się kotłownia, w której spalane jest paliwo, najczęściej gaz, co generuje ciepło. Następnie ciepła woda przepływa przez rury, które rozprowadzają ją do grzejników w mieszkaniach. Grzejniki, będące odbiornikami ciepła, oddają ciepło do pomieszczeń, a schłodzona woda wraca do kotła, aby proces mógł się powtórzyć. Takie połączenie komponentów gwarantuje optymalne działanie systemu grzewczego.
Rola kotła w centralnym ogrzewaniu i jego rodzaje
Kotły odgrywają kluczową rolę w systemie centralnego ogrzewania, ponieważ to one są odpowiedzialne za wytwarzanie ciepła. W kotłowni, paliwo jest spalane, co generuje gorącą wodę, która następnie krąży w systemie rur do grzejników w mieszkaniach. Bez odpowiedniego kotła, cały system grzewczy nie mógłby funkcjonować efektywnie. Różne rodzaje kotłów, takie jak kotły gazowe, olejowe czy elektryczne, mają swoje unikalne cechy i zastosowania, co wpływa na ich wybór w zależności od potrzeb mieszkańców.
Wybór odpowiedniego kotła ma znaczenie nie tylko dla efektywności ogrzewania, ale także dla kosztów eksploatacji oraz wpływu na środowisko. Kotły gazowe są często preferowane ze względu na swoją wydajność i niższe koszty paliwa, podczas gdy kotły olejowe mogą być bardziej odpowiednie w miejscach, gdzie dostęp do gazu jest ograniczony. Warto również zaznaczyć, że nowoczesne kotły elektryczne stają się coraz bardziej popularne, szczególnie w kontekście odnawialnych źródeł energii.
Jakie paliwa są używane w kotłach centralnego ogrzewania?
W kotłach centralnego ogrzewania używa się różnych rodzajów paliw, w tym gazu, oleju i energii odnawialnej. Kotły gazowe, które spalają gaz ziemny, są jednymi z najpopularniejszych ze względu na swoją wydajność i niskie koszty eksploatacji. Z kolei kotły olejowe, chociaż droższe w eksploatacji, mogą być bardziej dostępne w obszarach bez dostępu do gazu. W ostatnich latach coraz większą popularność zyskują kotły korzystające z odnawialnych źródeł energii, takich jak biomasa czy pompy ciepła, które są bardziej ekologiczne, ale mogą wymagać większych inwestycji początkowych.
Jakie są różnice między kotłami gazowymi a olejowymi?
Kotły gazowe i olejowe różnią się pod wieloma względami, w tym efektywnością, kosztami i wymaganiami konserwacyjnymi. Kotły gazowe są zazwyczaj bardziej efektywne i tańsze w eksploatacji, co czyni je popularnym wyborem w wielu domach. Z kolei kotły olejowe, chociaż mogą mieć wyższą sprawność, wiążą się z wyższymi kosztami paliwa i często wymagają więcej przestrzeni na przechowywanie paliwa. Warto również zauważyć, że kotły gazowe wymagają regularnej konserwacji, aby zapewnić ich prawidłowe działanie, podczas gdy kotły olejowe mogą potrzebować bardziej skomplikowanych procedur serwisowych.
| Typ kotła | Efektywność | Koszt instalacji | Koszt eksploatacji |
| Kotły gazowe | 90-95% | Średni | Niski |
| Kotły olejowe | 85-90% | Wyższy | Wysoki |
Funkcjonowanie grzejników i ich wpływ na komfort cieplny
Grzejniki odgrywają kluczową rolę w systemie centralnego ogrzewania, ponieważ to one odpowiadają za oddawanie ciepła do pomieszczeń. Działają na zasadzie konwekcji, gdzie ciepła woda przepływa przez grzejniki, a następnie oddaje swoje ciepło do powietrza w pokoju. W rezultacie, temperatura w pomieszczeniu wzrasta, co wpływa na komfort mieszkańców. Odpowiednie rozmieszczenie grzejników w pomieszczeniach ma znaczenie, ponieważ pozwala na równomierne rozprowadzenie ciepła, eliminując zimne strefy.
Efektywność grzejników ma bezpośredni wpływ na ogrzewanie wnętrz. Im lepiej grzejniki oddają ciepło, tym szybciej osiągana jest pożądana temperatura. Warto również zaznaczyć, że odpowiednia izolacja pomieszczeń oraz regulacja temperatury wpływają na ogólną efektywność grzejników. Dzięki nowoczesnym technologiom, takim jak termostaty czy zawory regulacyjne, mieszkańcy mogą lepiej kontrolować temperaturę w swoich domach, co przekłada się na oszczędności energetyczne i większy komfort.
Jak działają grzejniki w systemie centralnego ogrzewania?
Grzejniki w systemie centralnego ogrzewania działają na zasadzie przewodnictwa ciepła i konwekcji. Kiedy gorąca woda przepływa przez grzejniki, ich powierzchnia nagrzewa się, a powietrze w ich otoczeniu również ulega podgrzaniu. Ciepłe powietrze unosi się do góry, a zimniejsze opada w dół, co tworzy naturalny obieg powietrza w pomieszczeniu. Dzięki temu procesowi, grzejniki skutecznie oddają ciepło, co prowadzi do podniesienia temperatury w całym pomieszczeniu. Regularne czyszczenie grzejników oraz ich odpowiednia konserwacja są kluczowe dla zachowania ich efektywności.
Jakie są typy grzejników i ich efektywność?
Na rynku dostępnych jest wiele typów grzejników, w tym grzejniki panelowe, kolumnowe oraz ręcznikowe. Grzejniki panelowe, najczęściej spotykane w domach, charakteryzują się wysoką efektywnością i szybkim nagrzewaniem. Grzejniki kolumnowe, z kolei, oferują większą powierzchnię grzewczą, co sprawia, że są bardziej efektywne w dużych pomieszczeniach. Grzejniki ręcznikowe, popularne w łazienkach, nie tylko ogrzewają przestrzeń, ale także służą do suszenia ręczników. Wybór odpowiedniego typu grzejnika powinien być dostosowany do specyfiki pomieszczenia oraz indywidualnych potrzeb mieszkańców.
- Grzejniki panelowe: szybkie nagrzewanie, wysoka efektywność.
- Grzejniki kolumnowe: większa powierzchnia grzewcza, idealne do dużych pomieszczeń.
- Grzejniki ręcznikowe: funkcjonalność w łazienkach, ogrzewanie i suszenie ręczników.
Potencjalne problemy z centralnym ogrzewaniem i ich rozwiązania
Centralne ogrzewanie, choć efektywne, może napotkać na różne problemy, które wpływają na jego działanie. Do najczęstszych usterek należy niewystarczające ogrzewanie pomieszczeń, co może być spowodowane zatorami w systemie lub uszkodzeniami grzejników. Inne powszechne problemy to wycieki wody, które mogą prowadzić do uszkodzeń budynku oraz nieprzyjemne hałasy wydobywające się z systemu, wskazujące na powietrze uwięzione w rurach. Regularne przeglądy i konserwacja są kluczowe, aby zminimalizować ryzyko tych problemów.
W przypadku wystąpienia problemów z centralnym ogrzewaniem, ważne jest, aby mieszkańcy wiedzieli, jak rozwiązywać te usterki. Wiele z nich można naprawić samodzielnie, na przykład przez odpowietrzenie grzejników, aby usunąć powietrze z systemu. W przypadku poważniejszych usterek, takich jak wycieki, zaleca się natychmiastowe skontaktowanie się z fachowcem, aby uniknąć dalszych uszkodzeń. Regularna konserwacja, w tym czyszczenie i kontrola stanu grzejników oraz rur, może pomóc w zapobieganiu problemom i zapewnić sprawne działanie systemu grzewczego.
Najczęstsze usterki systemu grzewczego w blokach
Mieszkańcy bloków mogą napotkać na różne usterki systemu grzewczego, które wpływają na komfort cieplny. Do najczęstszych problemów należy niewystarczające ogrzewanie, które może być spowodowane zatorami w rurach lub uszkodzeniami grzejników. Inne typowe usterki to wycieki wody, które mogą prowadzić do uszkodzeń strukturalnych, oraz hałasy wydobywające się z systemu, które mogą wskazywać na obecność powietrza w rurach. Mieszkańcy powinni być świadomi tych problemów, aby szybko reagować.
Jak radzić sobie z problemami z ogrzewaniem w mieszkaniu?
Aby skutecznie radzić sobie z problemami z ogrzewaniem, mieszkańcy powinni znać kilka praktycznych rozwiązań. W przypadku niewystarczającego ogrzewania, warto najpierw sprawdzić, czy grzejniki są odpowiednio odpowietrzone. Jeśli problem się utrzymuje, należy skontaktować się z fachowcem. W przypadku wycieków, natychmiastowe zamknięcie zaworu wody może pomóc w uniknięciu poważniejszych uszkodzeń. Regularne przeglądy systemu grzewczego i konserwacja są kluczowe dla zapobiegania problemom.

Jak efektywnie zarządzać ogrzewaniem w swoim mieszkaniu
Aby efektywnie zarządzać ogrzewaniem w swoim mieszkaniu, kluczowe jest stosowanie kilku sprawdzonych strategii. Po pierwsze, warto zainwestować w programowalne termostaty, które pozwalają na automatyczne dostosowywanie temperatury w zależności od pory dnia. Ustawienie niższej temperatury w nocy lub podczas nieobecności domowników może znacząco obniżyć koszty ogrzewania. Dodatkowo, odpowiednia izolacja okien i drzwi pomoże w zatrzymaniu ciepła wewnątrz, co również wpłynie na oszczędności energetyczne.
Regularne przeglądy systemu grzewczego są kolejnym istotnym elementem zarządzania ogrzewaniem. Warto pamiętać o odpowietrzaniu grzejników, aby zapewnić ich optymalne działanie. Zmniejszenie użycia energii można osiągnąć także dzięki zastosowaniu zasłon i rolet, które zatrzymują ciepło w pomieszczeniach. Wprowadzenie tych praktyk nie tylko zwiększy komfort cieplny, ale również przyczyni się do mniejszych rachunków za ogrzewanie.
Porady dotyczące optymalizacji zużycia energii w ogrzewaniu
Aby optymalizować zużycie energii w ogrzewaniu, warto zastosować kilka prostych, ale skutecznych wskazówek. Ustawienie termostatu na niższą temperaturę, na przykład 20 stopni Celsjusza w ciągu dnia i 16-18 stopni w nocy, może przynieść znaczne oszczędności. Dodatkowo, korzystanie z programowalnych termostatów umożliwia automatyczne obniżenie temperatury, gdy nikogo nie ma w domu. Ważne jest również, aby regularnie kontrolować szczelność okien i drzwi, aby zminimalizować straty ciepła. Używanie dywanów i zasłon również może pomóc w zatrzymaniu ciepła w pomieszczeniach.
Jakie są najlepsze praktyki dla mieszkańców bloków?
Mieszkańcy bloków mogą wdrożyć kilka najlepszych praktyk, aby zapewnić efektywne ogrzewanie i komfort w swoich mieszkaniach. Po pierwsze, warto współpracować z sąsiadami w zakresie zarządzania ogrzewaniem, aby uniknąć nadmiernego zużycia energii. Utrzymywanie odpowiedniej temperatury w pomieszczeniach wspólnie z sąsiadami może przyczynić się do oszczędności. Regularne przeglądy i konserwacja systemów grzewczych są również kluczowe, aby zapewnić ich sprawne działanie. Dodatkowo, korzystanie z zasłon i rolet oraz odpowiednia izolacja pomieszczeń mogą znacznie wpłynąć na komfort cieplny.
Jak wykorzystać inteligentne technologie do zarządzania ogrzewaniem
W dobie nowoczesnych technologii, inteligentne systemy zarządzania ogrzewaniem stają się coraz bardziej popularne. Dzięki aplikacjom mobilnym i urządzeniom IoT (Internet of Things), mieszkańcy mogą zdalnie kontrolować temperaturę w swoich domach, co pozwala na jeszcze większą efektywność energetyczną. Na przykład, systemy takie jak Nest czy tado° umożliwiają analizowanie wzorców użytkowania i automatyczne dostosowywanie ustawień ogrzewania, co przekłada się na oszczędności i komfort.
Dodatkowo, integracja ogrzewania z innymi systemami domowymi, takimi jak inteligentne oświetlenie czy systemy bezpieczeństwa, może przynieść dodatkowe korzyści. Użytkownicy mogą ustawiać scenariusze, które automatycznie regulują temperaturę w zależności od pory dnia czy obecności domowników. Tego typu rozwiązania nie tylko zwiększają komfort, ale także przyczyniają się do zmniejszenia śladu węglowego, co jest coraz ważniejsze w kontekście zmian klimatycznych.
